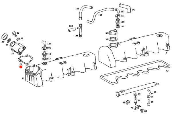
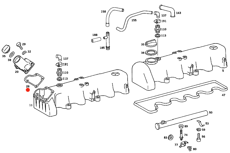
Pakking kleppendeksel boven deksel Mercedes OM617

Origineel Mercedes
€ 3,95

Pakking boven deksel kleppen deksel OM617 

Afbeelding 3 nummer: 26

 

Klepdeksel pakking OM617:Klepdeksel pakking OM617, 5 cilinder diesel

 

Groep: Kleppen deksel, Klepdeksel, pakking